近日,丽水职业技术学院史密斯智能科技团队成功完成反向式行星滚柱丝杠技术攻坚。该技术通过结构优化、工艺创新和智能控制升级,显著提升传动性能并降低成本,已在工业制造领域初步应用,为人形机器人、高端装备产业提供核心支撑。


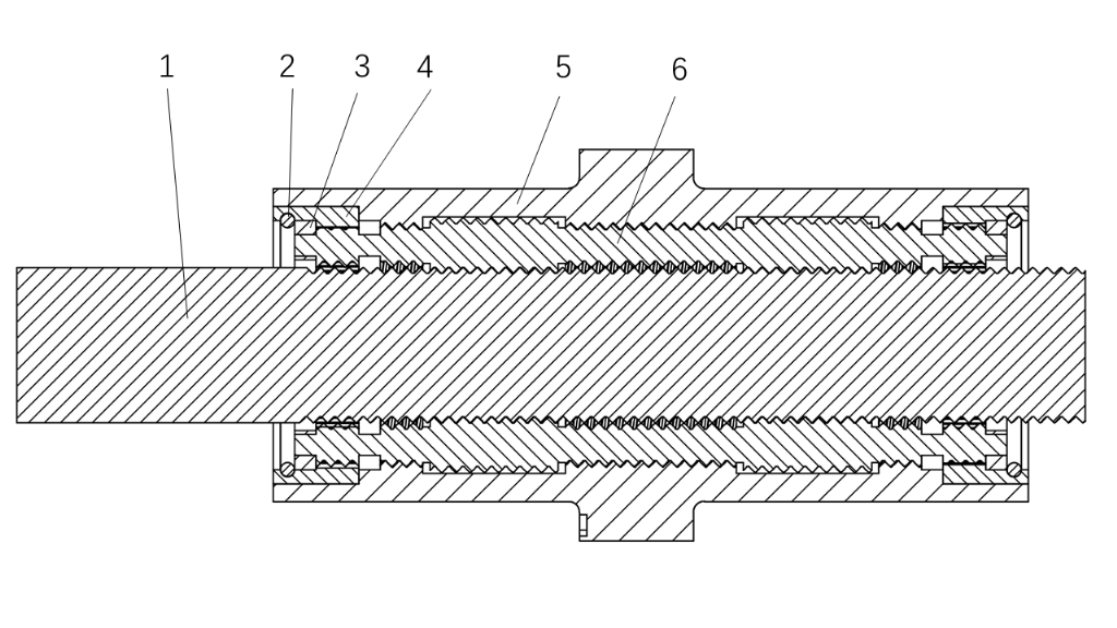
反向式行星滚柱丝杠副作为工业装备高精度传动的核心部件,其技术长期被欧美企业垄断。项目团队通过系统性创新实现多项突破:采用双螺母抗冲击结构提升传动稳定性,通过力学仿真优化螺旋升角参数,使轴向刚度提升至950kN;结合“梯度渗碳+低温回火”复合工艺,精准控制碳元素浓度梯度,使丝杠表面硬度稳定在HRC60±2,耐磨性能提升40%,使用寿命延长至8000小时;冷锻成型工艺替代传统磨削,材料利用率从58%提升至89%,单套成本降低42%,仅为进口产品三分之一。智能控制方面,基于模糊PID算法开发的动态补偿系统,通过多轴传感器实时采集数据,实现±0.01mm重复定位精度,响应速度提升30%,核心性能达到国际同类产品水平。

图1 反向式行星滚柱丝杠内部结构图

图2 反向式行星滚柱丝杠实物图
目前,该技术已在工业场景初步应用。浙江卓求传动科技有限公司引入国产丝杠副后,高端数控机床加工精度从±0.02mm提升至±0.005mm,自动化生产线效率提升约25%,产品不良率显著降低。技术成果在浙西南科创产业园展出期间,吸引了多家工业机器人厂商与精密制造企业关注,并达成技术合作与采购意向。
值得关注的是,丽水职业技术学院学生团队深度参与研发工作,在结构设计优化、工艺测试等环节提出了 10 余项创新方案,其中 2 项方案已申请实用新型专利。“高校科研团队主导、企业协同验证、学生实践参与” 的产学研融合模式,不仅加快了技术落地的进程,还为职业教育培养高技能人才提供了实践范例。
该技术突破对我国高端装备制造业具有多维战略意义:不仅填补了国内在高精度传动领域的技术空白,提升了国防、航空航天等关键领域供应链的自主可控能力,还将带动上游特种钢材、精密加工设备,下游人形机器人、新能源装备等产业协同升级。据行业测算,该技术全产业链辐射效应有望在3-5年内形成超30亿元产值规模,新增高端技术岗位超800个。
责任编辑:kj005
近日,深圳市2025年度全国会计专业技术中级资格考试(以下简称“中级会计考试”)如期完考据介绍,在本次考试中,小熊U租一次性提供了上万台...
时节悄悄流转,嵊泗的海,不急不缓,蓝的恰到好处这是一年中,嵊泗最值得私藏的时光蓝,是嵊泗秋日专属的治愈力九月的嵊泗迎来了“专属静谧期”海...
2025年9月15日上午,由北京市昌平区委宣传部、襄垣县委宣传部、北京市昌平区文联、襄垣县文联共同主办,北京祥和大地美术中心、北京昌平文化旅游发展集团有限责任公...
2025年9月15日,在新疆金融监管局、人民银行新疆分行和新疆证监局的联合指导下,平安银行乌鲁木齐分行在乌鲁木齐市人民公园精心打造的“金融消保集市&...
近日,作为国家绿色工厂、高新技术企业的世宇新型建材,在湖北荆州松滋生产基地隆重举办2025新品发布会。全国各地经销商、建材行业专家齐聚现场,共同聚焦绿色建材创新...
在2023年,“五个女博士”因电梯广告引发的争议一度成为舆论焦点,甚至从夸张的表达形式上升到性别对立一直以来,五个女博士都坚持走科研驱动...
在西藏自治区成立60 周年的喜庆氛围中,雪域高原科技创新领域再传佳音——西藏充氧宝科技有限公司的 Work Air 充氧宝全球市场应用项...
在数字经济与科技创新的澎湃浪潮中,虚拟直播正成为文化传媒行业的新风口对于许多艺术专业的同学而言,虽拥有扎实的专业功底和出众的才艺,但在面对镜头时往往会产生恐惧心...